FDEX平台网址:http://fundindexs.com,FDEX公司官网正常,官网上有存取登录链接存取登录(入金网址)入口网址:https://tw.wanrongsgp.com/login,9月23号前能登陆,9月24号关闭,目前无法正常打开,入金时先是中富支付,再到支付宝,再到银行页面。
FDEX平台网址:http://fundindexs.com,FDEX公司官网正常,官网上有存取登录链接
存取登录(入金网址)入口网址:https://tw.wanrongsgp.com/login,9月23号前能登陆,9月24号关闭,目前无法正常打开,入金时先是中富支付,再到支付宝,再到银行页面。
3月份,在微信炒股的公众号看到一篇文章,领取股票指标,就加了 股海豪情(已经解散) 这个Q群,他们一共4位老师在直播讲股票,洪涛QQ774219902,沈文斌,陈清泉,王亮,助理李月QQ2607165218,开户专员小雅QQ874677456,直播间:《金石宝典》,网址http://zb.rxtbcys.net/3999直播,打着金石投资的名号,也做了一个链接到金十数据jin10.com这个网址,刚开始都是在讲股票,感觉讲得还不错,相信了洪涛,一步步进套了。
后来一次沈文斌直播时,就故意透露他带他朋友在软件MetaTrader 4上做fa50.f 股指期货赚钱,当时股票行情不怎么好,说这个可以对冲股票亏损,几次都在带朋友赚钱,好多听众都要求老师也带着玩,洪涛向金石投资领导反应,申请带1000人,4月中下旬开始都是直播时带大家操作,感觉赚的概率大,几天后我也开户了,刚开始好多次赚的机会我没做,错过了,后来他们喊单我基本也跟着做,赚少亏多,他们都不说止损。
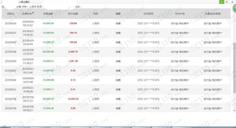
后来不在直播网址上带,在Q群里喊单,我重新进了铂金冲锋营(Q群459167008),后来Q群喊单和QQ聊天喊单,我亏了很多,就不跟了,自己找方法下单。我刚开始只有几千美金,后来一直加到2.55万美金,期间提出来2次,累计2000美金,实际资金2.35万美金,亏17260美金,还剩6240美金,7月31号发邮件提醒系统即将维护,8月1号申请出金6240美金,一般T1日到账,截止目前没有到账,8月5号那个星期入金网址关了,MT4软件也无法登陆,直到12号发现网址和软件又能正常登陆,等了一天又一天,但是资金迟迟没有到账,百度后感觉被骗了,累计被骗人民币164797.75元,QQ也全都离线了,平台跑路,哎,真的特别难受。希望能早点帮我找回这笔资金,万分感谢,您们辛苦了。
入金1美金需要7元人民币,出金1美金=6.85元人民币。
http://zb.rxtbcys.net/3999 直播网址已关
WanRong Foundation MetaTrader 4 Terminal 电脑软件可以正常登录
MetaTrader 4 手机版可以正常登录;总共收过这2个邮箱的信息:service@fundindexs.com service@mail.finsoftware.net
本文内容仅代表作者观点,不代表本站立场,如若转载,请注明出处:https://www.fx220.com/zimeiti/whbg/40962.html
