目录
- 一、引言
- 二、重装
- 三、占位符
- 四、超过一项以上的参数时
- 五、转换符
- 六、转换符的标志
- 七、对字符串进行格式化
- 八、对整数进行格式化
- 九 、对浮点数进行格式化
- 十、对日期时间进行格式化
一、引言
String类的format()方法用于创建格式化的字符串以及连接多个字符串对象。熟悉C语言应该记得C语言的sprintf()方法,两者有类似之处。format()方法有两种重载形式。
二、重载
- // 使用当前本地区域对象(Locale.getDefault()),制定字符串格式和参数生成格式化的字符串
- String
- String
- .
- format
- (
- String
- fmt
- ,
- Object
- …
- args
- );
- // 自定义本地区域对象,制定字符串格式和参数生成格式化的字符串
- String
- String
- .
- format
- (
- Locale
- locale
- ,
- String
- fmt
- ,
- Object
- …
- args
- );
三、占位符
格式化说明最多会有5个部分(不包括%符号) . 下面的[]符号里面都是选择性的项目,因此只有%与type是必要的. 格式化说明的顺序是有规定的,必须要以这个顺序章指定.
实例:
四、超过一项以上的参数时
把新的参数加到后面,因此会有3个参数来调用format()而不是两个,并且在第一个参数中,也就是格式化串中,会有两个不同的格式化设定,也就是两个%开头的字符组合,第二个会应用在第一个%上面,第三个参数会用在第二%上,也就是参数会依照顺序应用在%上面” 。
- int
- one
- =
- 123456789
- ;
- double
- two
- =
- 123456.789
- ;
- String
- s
- =
- String
- .
- format
- (
- “第一个参数:%,d 第二个参数:%,.2f”
- ,
- one
- ,
- two
- );
- System
- .
- out
- .
- println
- (
- s
- );

五、转换符

六、转换符的标志

七、对字符串进行格式化
示例——将”hello”格式化为”hello “(左对齐)
- String
- raw
- =
- “hello word”
- ;
- String
- str
- =
- String
- .
- format
- (
- “|%-15s|”
- ,
- raw
- );
- System
- .
- out
- .
- println
- (
- str
- );

八、对整数进行格式化
示例——将-1000显示为(1,000)
- int
- num
- =
- –
- 1000
- ;
- String
- str
- =
- String
- .
- format
- (
- “%(,d”
- ,
- num
- );
- System
- .
- out
- .
- println
- (
- str
- );

九 、对浮点数进行格式化
- double
- num
- =
- 123.456789
- ;
- System
- .
- out
- .
- (
- String
- .
- format
- (
- “浮点类型:%.2f %n”
- ,
- num
- ));
- System
- .
- out
- .
- (
- String
- .
- format
- (
- “十六进制浮点类型:%a %n”
- ,
- num
- ));
- System
- .
- out
- .
- (
- String
- .
- format
- (
- “通用浮点类型:%g “
- ,
- num
- ));

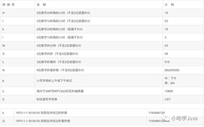
十、对日期时间进行格式化
日期的转换符

时间的转换符

实例


本文内容仅代表作者观点,不代表本站立场,如若转载,请注明出处:https://www.fx220.com/news/22010.html
